Amazon IoT Patent Shows ZigBee Home-Automation Signals over Power Cable
Posted on May 29, 2018 ·
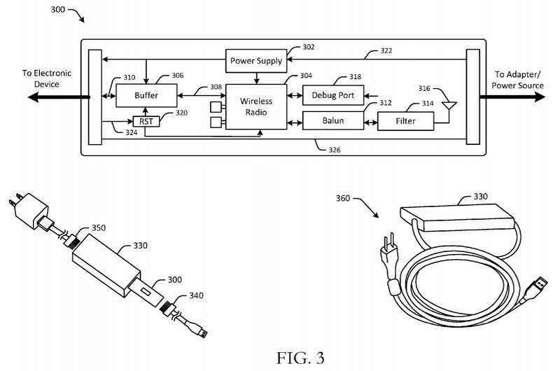
Amazon ZigBee over cable patent – Figure 3 – FIG. 3 is a schematic drawing of an integrated radio module and various example embodiments of power cables with integrated wireless communication components in accordance with one or more embodiments of the disclosure.





