Amazon IoT Patent Shows ZigBee Home-Automation Signals over Power Cable
Posted on May 29, 2018 ·
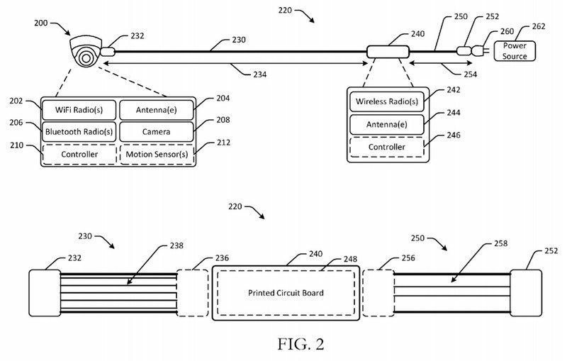
Amazon ZigBee over cable patent – Figure 2 – FIG. 2 is a schematic drawing of a power cable with an integrated wireless communication component in communication with an electronic device in accordance with one or more embodiments of the disclosure.





