Amazon IoT Patent Shows ZigBee Home-Automation Signals over Power Cable
Posted on May 29, 2018 ·
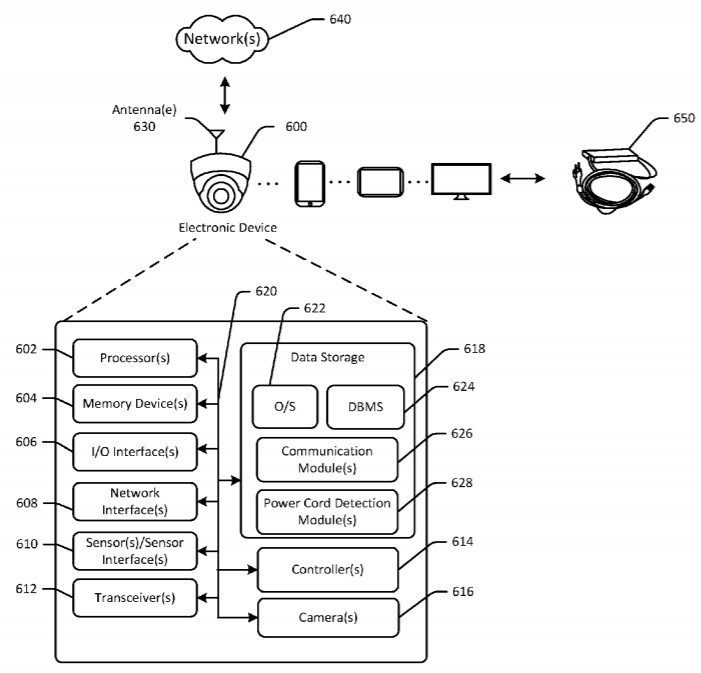
Amazon ZigBee over cable patent – Figure 6 – FIG. 6 schematically illustrates an example architecture of a system in accordance with one or more embodiments of the disclosure.





